
아이폰 ‘카툭튀’ 작아진다… 애플, LG이노텍 잠망경 카메라 채용
애플, 아이폰15에 폴디드줌 카메라 적용
삼성전자는 갤럭시S20 울트라부터 장착
잠망경처럼 빛의 굴절 이용해 두께 줄여
LG이노텍, 내년 3월부터 양산 전망

애플이 내년 출시하는 아이폰15(가칭)에 폴디드줌 카메라를 넣기로 확정했다. 잠망경과 비슷한 원리를 지닌 폴디드줌 카메라는 스마트폰 밖으로 카메라가 툭 튀어나오는 것(카툭튀)을 어느 정도 줄이는 역할을 한다.
애플이 그간 폴디드줌 카메라를 스마트폰에 적용하지 못했던 것은 삼성전자가 특허를 보유하고 있던 영향이 일부 있다. 삼성전자는 2020년 3월 출시한 갤럭시S20 울트라에 이 폴디드줌 카메라를 적용, 100배 줌을 구현했다. 애플은 이 특허를 우회해 새로운 특허를 등록했다. 공급은 애플 카메라 모듈의 상당수를 납품하는 LG이노텍이 맡는다. 내년 3월부터 아이폰15용 폴디드줌 카메라 양산이 시작될 것으로 보인다.
18일 전자 업계에 따르면 애플은 아이폰14의 카메라 성능을 강화하기 위해 처음으로 4800만 화소 이미지센서를 채용한 카메라 모듈을 채용했다. 하지만 이 탓에 카메라 모듈이 커지면서 이른바 ‘카툭튀’가 심해지는 결과를 낳았다. 실제 소비자들도 후면(메인) 카메라가 심하게 튀어나온 것을 아이폰14 시리즈의 가장 큰 단점으로 꼽고 있다.

이런 심한 카툭튀는 내년 출시가 예정된 아이폰15부터 완화될 것으로 보인다. 이와 관련해 최근 애플은 폴디드줌 카메라 적용을 협력사에 통보한 것으로 알려졌다.
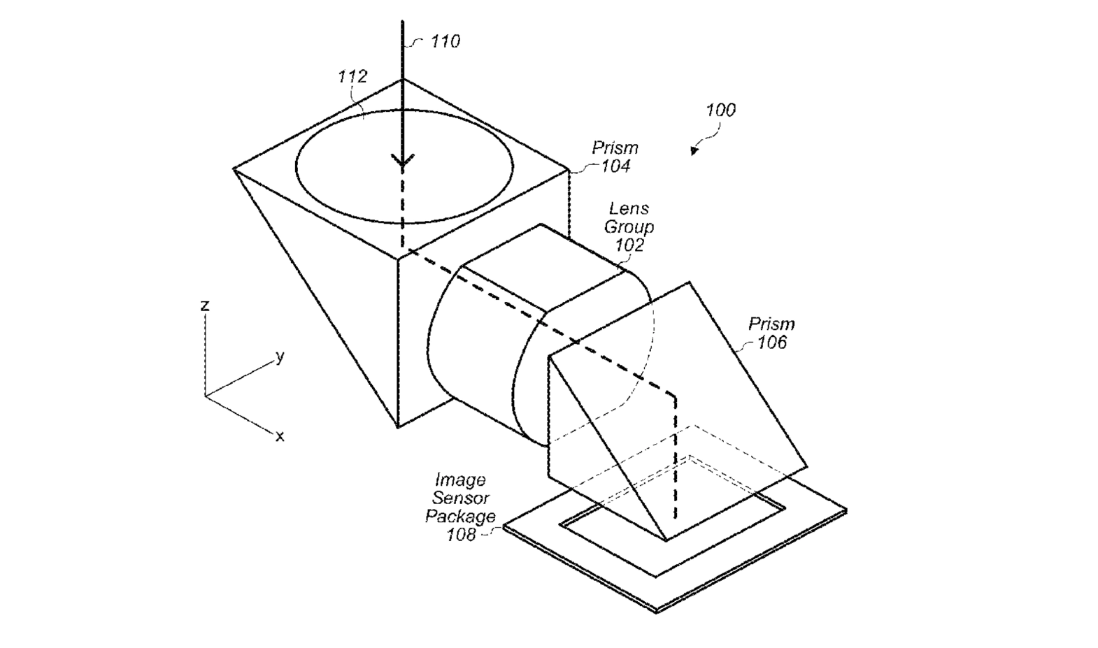
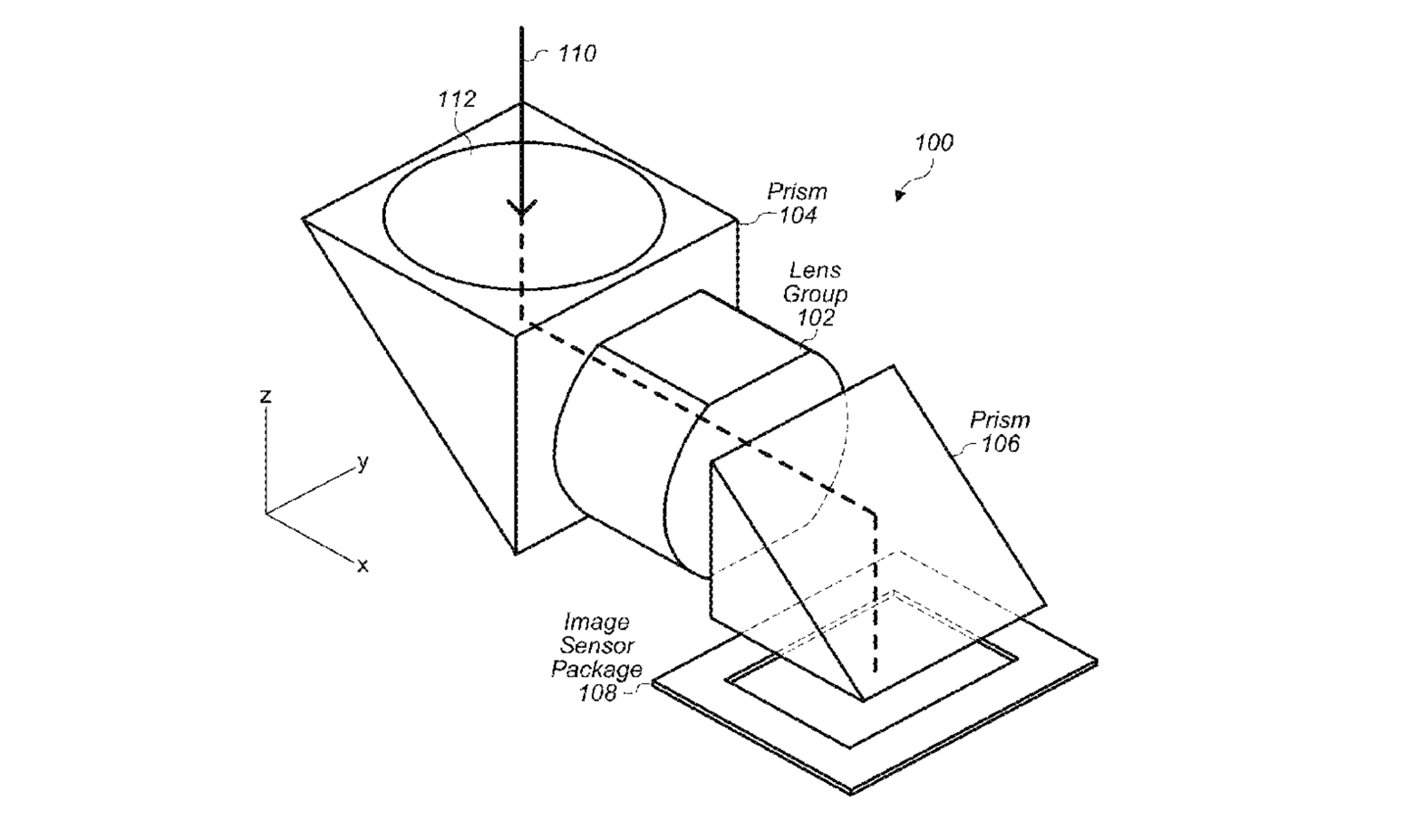
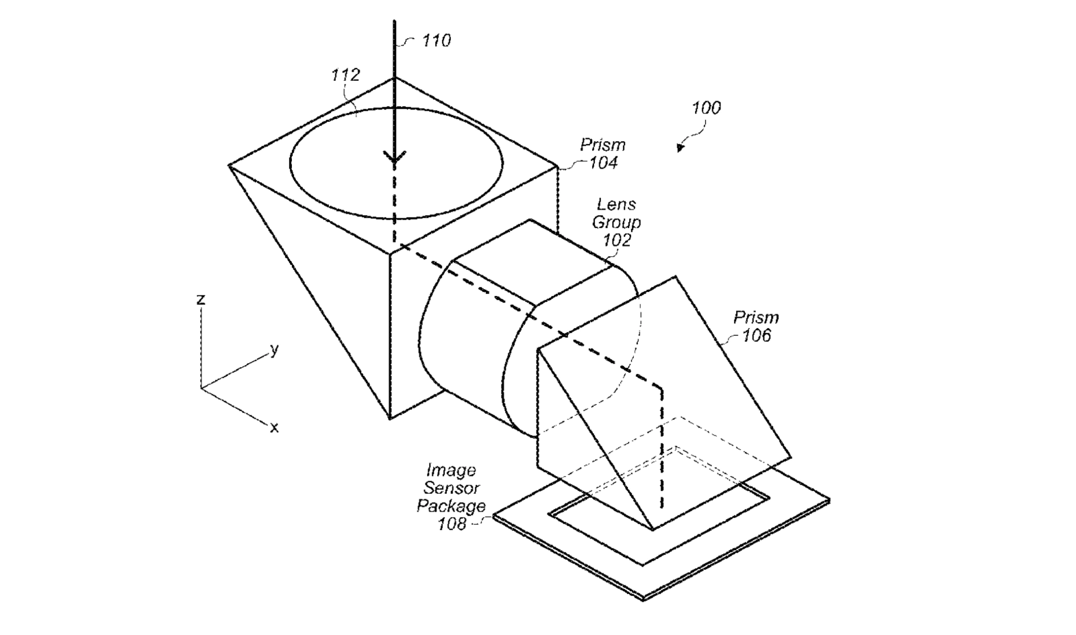
폴디드줌 카메라는 잠망경 형태의 망원 카메라 모듈이다. 통상 스마트폰 카메라 모듈은 렌즈와 이미지센서를 세로로 배치해 촬영 대상을 당기면(줌인) 초점을 확보하기 위해 모듈이 두꺼워진다. 스마트폰에서 카메라와 기기 표면이 수평을 이루지 못하고 밖으로 튀어나오는 건 이 때문이다.
폴디드줌 카메라는 빛이 들어오는 통로를 잠망경처럼 굴절시켜 초점거리를 확보한다. 렌즈와 이미지센서를 가로 배치하기 때문에 카메라 모듈을 두껍게 하지 않아도 충분한 줌 성능을 확보할 수 있다. 카툭튀를 완전히 없애기는 어렵지만 최소화하는 것은 가능하다는 이야기다.
애초 애플은 폴디드줌 카메라를 아이폰14부터 적용할 계획이었다. 삼성전자가 지난 2019년 인수한 이스라엘 코어포토닉스의 선점 특허를 회피하기 위해 지난해 새로운 폴디드줌 카메라 특허도 등록했다. 다만 양산 일정과 생산 수율(양품비율) 등의 문제로 아이폰14 조기 적용은 어려웠던 것으로 파악된다. 그래도 내년 판매할 아이폰15 고급형에서는 폴디드줌 카메라 적용이 가능할 것으로 예상된다.

공급은 LG이노텍이 맡는다. 지난해부터 애플과 폴디드줌 카메라 모듈 개발 프로젝트를 수행하고 있다. 삼성전자 공급망이었던 자화전자도 애플에 합류한 것으로 보인다. 자화전자는 손떨림방지(OIS)와 자동초점(AF) 통합 구동계(액츄에이터) 등의 기술을 보유한 회사다. LG이노텍은 아이폰 후면 카메라는 물론, 전면카메라도 담당한다.
글로벌 스마트폰 출하량이 감소 추세에 있지만, 고부가가치 제품인 카메라 모듈의 고성능화는 꾸준히 이뤄지는 중이다. 폴디드줌 카메라 역시 이런 흐름 속에서 시장 성장이 기대되는 분야다. 삼성증권 보고서에 따르면 폴디드줌 카메라 시장은 스마트폰 수량 기준 약 1500만대 규모이지만, 애플이 적용하기 시작하는 2023년부터는 4000만대 이상으로 시장 성장이 예상된다. 또 중화권 스마트폰 역시 채용 범위가 확대된다. 김지산 키움증권 연구원은 “(LG이노텍은) 내년 신형 아이폰 폴디드줌 카메라 채택, AF 장착 전면 카메라 공급 확대, 애플의 첫 XR 기기 출시 효과 등으로 광학솔루션 실적 모멘텀을 이어갈 것이다”라고 했다.
출처 조선비즈
https://biz.chosun.com/it-science/ict/2022/10/18/64D35GVOHJCNJBA3HAP752KROU/
'[IT 알아보기] > IT 소식' 카테고리의 다른 글
| [IT 소식] AI 저작권 논란 수면 위로...깃허브 코파일럿 놓고 분쟁 가능성 '솔솔' (0) | 2022.10.27 |
|---|---|
| [IT 소식] 뉴로핏, AI로 두뇌 속 '길' 찾는다 (0) | 2022.10.26 |
| [IT 소식] 카카오 먹통 사태로 관심 높아진 데이터센터는 어떤 곳? (0) | 2022.10.25 |
| [IT 소식] ‘초거대 AI 시대’ 연산하는 메모리로 초격차 만드는 삼성·SK (0) | 2022.10.24 |
| [IT 소식] 메타, 문자없는 언어를 번역하는 AI 공개 (0) | 2022.10.21 |
