
애플이 특허 출원한 증강현실은? 앞 유리 전체를 내비게이션으로?

[M투데이 온라인팀] 최근 미국 특허청에 제출된 내용 중 애플은 자동차 앞 유리에 정보를 보여주는 증강현실 시스템을 통해 카플레이를 넘어선 확장을 모색하고 있는 것으로 나타났다.
해외 매체 '더드라이브'가 처음 발견한 이 특허 출원 내용은 지난 4월 28일 미국 특허청에 출원되었으며 8월 24일 공개된 것이다.
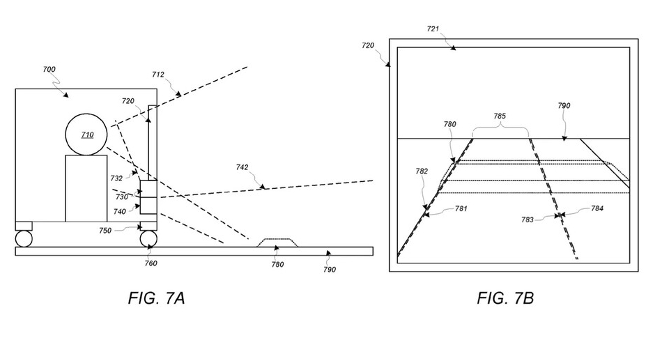
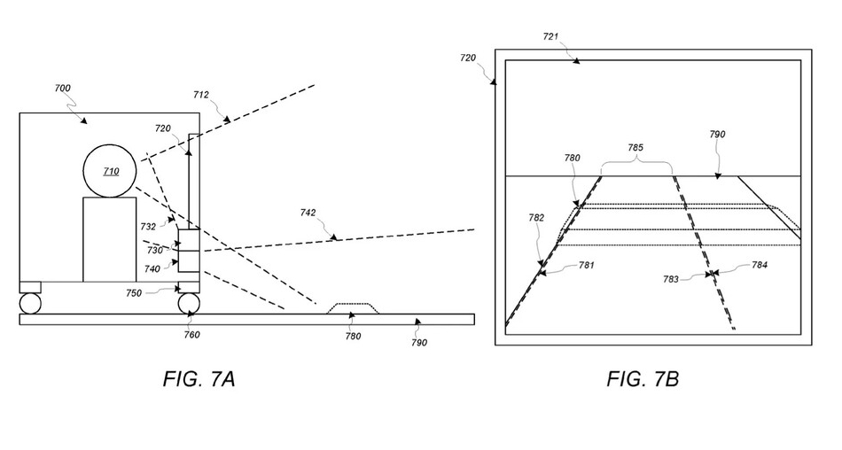
애플이 제출한 특허는 가시광선 카메라, 적외선 카메라, 레이더, 초음파 또는 라이다 장치와 같은 센서를 사용해 차량 주변 환경에 대한 3D 이미지를 구축하는 방법을 설명한다. 지리적 위치 데이터도 통합할 수 있는 것으로 보인다.
그러면 시스템은 이 데이터를 사용해 자동차 앞 유리에 평면 디스플레이가 아닌 실제 증강 현실 스타일로 정보를 노출시킨다. 그리고 애플은 관련 정보가 담긴 표지판을 강조 표시하거나 건물에 가려져 있을 수 있는 목적지의 윤곽을 그리는 등 몇 가지 재미있는 기능도 담고 있다.


또한 이 시스템을 사용하면 운전자가 더 운전에 주의를 기울이도록 유도한다. 운전자가 과속할 경우 가상의 과속방지턱을 도로에 투사해 속도를 낮출 것을 유도할 수 있으며, 심지어 적응형 서스펜션과 함께 작동해 과속방지턱을 통과하는 느낌을 시뮬레이션 할 수 있다. 또는 스쿨존에서 운전자가 속도를 낮추도록 유도하기 위해 "어린이"의 이미지를 도로에 투사할 수도 있는 것으로 알려졌다.
애플은 다양한 상황을 가정한 내용을 특허 출원했지만, 이와 관련된 하드웨어에 대한 정보는 공개되지 않았다. 메르세데스-벤츠의 일부 모델의 경우 증강현실 시스템을 내비게이션에 통합해 보여주고 있지만, 애플이 낸 특허와 같은 앞 유리 전체를 3D 이미지로 채우는 것은 또 다른 문제다.
하지만 이런 시도는 애플만 하는 것은 아니다. 증강현실과 관련해 IAA 모빌리티 2023에 등장한 메르세데스-벤츠의 콘셉트카 CLA-클래스와 폭스바겐 ID.GTI 모델에도 이런 기능이 탑재되어 있기 때문에 향후 이런 방식의 내비게이션 등장도 멀지 않을 것으로 예상된다.
출처 : M투데이
https://www.autodaily.co.kr/news/articleView.html?idxno=509451
'[IT 알아보기] > IT 소식' 카테고리의 다른 글
| [IT 소식] AI가 고문서 한자 인식해 번역한다 (0) | 2023.09.22 |
|---|---|
| [IT 소식] '생체 형광 신호' 기존 대비 10배 이상 정밀하게 측정하는 AI 영상 분석 기술 개발 (0) | 2023.09.20 |
| [IT 소식] SKT, 청각장애인 택시에 음성인식 AI 적용…"편의성 대폭 향상" (0) | 2023.09.18 |
| [IT 소식] 프로그래밍 가능한 멀티코어 CPU··· 데이터 처리 장치(DPU)가 뜬다 (0) | 2023.09.15 |
| [IT 소식] ‘CPU’, ‘GPU’, ‘NPU’, ‘TPU’의 차이 알아보기 (0) | 2023.09.15 |
