
애플, 차기 애플워치에 카메라 넣을까
애플워치용 카메라 시스템 특허 출원
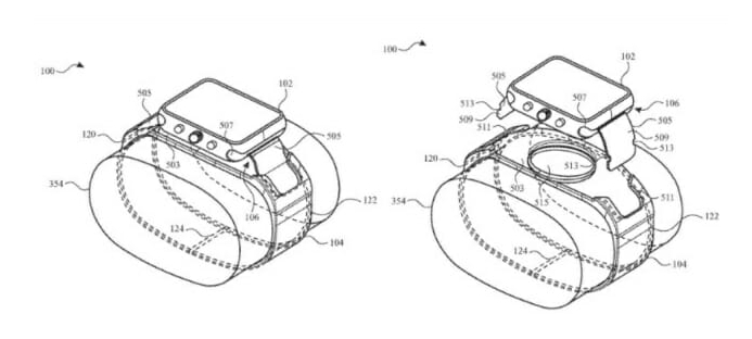
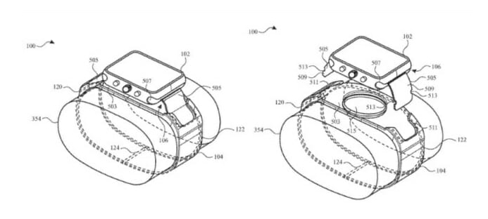
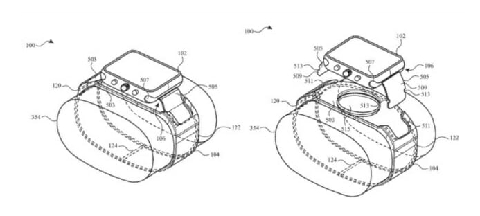
애플이 카메라 촬영이 필요할 때 시계를 찬 상태에서 본체를 쉽게 분리해 사진을 찍을 수 있는 애플워치 특허를 미국 특허청에 등록했다고 IT매체 폰아레나가 12일(현지시간) 보도했다.

해당 특허는 사용자가 애플워치의 후면 카메라로 사진과 영상을 촬영할 수 있도록 시계 밴드에서 본체를 쉽게 분리할 수 있는 독특한 시계 밴드를 갖춘 특허다. 특허 문서에 따르면 시계는 걸쇠나 자석과 같은 분리 가능한 부착물을 사용하여 밴드의 오목한 곳에 본체를 부착해서 사용하고 필요할 때 마다 꺼낼 수 있다.

이렇게 하면 "손목에서 전체 시계 밴드를 제거할 필요 없이 시계 본체만 쉽게 제거할 수 있다”고 애플은 문서를 통해 설명했다. 카메라 사용을 마치면 밴드에 다시 애플워치 본체를 넣고 잠그면 된다.

애플은 2019년 6월에도 애플워치 카메라 특허를 등록한 적이 있다. 이 특허는 애플워치 본체에 카메라를 탑재하는 방식이 아닌 별도의 밴드에 카메라를 장착하는 기술에 대한 내용을 담고 있었다. 이 카메라를 사용하면 빠르게 스냅 사진을 찍거나, 페이스타임을 할 때도 편리할 것으로 예상된다.
애플이 해당 특허 기술을 실제로 차세대 애플워치에 넣을지는 확실치 않다. 하지만 계속적으로 같은 특허 기술이 공개되는 만큼 애플이 카메라 탑재를 계속 염두에 두고 있는 것이라고 폰아레나는 전했다.
출처 : 지디넷코리아 / 이정현 미디어연구소jh7253@zdnet.co.kr
https://zdnet.co.kr/view/?no=20230213110244
'[IT 알아보기] > IT 소식' 카테고리의 다른 글
| [IT 소식] 3D 캐드 선두주자 다쏘시스템 "클라우드로 제조 설계의 디지털 수준 격상" (0) | 2023.02.15 |
|---|---|
| [IT 소식] AI 얻은 '빙 검색' 인기…이틀만에 100만명 대기 (0) | 2023.02.14 |
| [IT 소식] 오페라, 챗GPT 통합 기능 선보인다 (0) | 2023.02.13 |
| [IT 소식] 가짜 정보까지 베끼는 '빙'의 AI 챗봇...챗GPT 오답 그대로 인용 (0) | 2023.02.10 |
| [IT 소식] 다크웹에서 판매하는 피싱 템플릿, 암호화폐 지갑 싹 비워내 (0) | 2023.02.10 |
